How to Use Digital Power Management for Energy Harvesting
投稿人:DigiKey 欧洲编辑
2016-10-04
Digital power management is an essential part of any energy harvesting system. The digital control is allowing a single device to handle a wide range of energy sources that have very different requirements, from maximum power point tracking (MPPT) for photovoltaic cells to piezoelectric and high impedance thermal sources.
The bq25505 device is designed to extract the micro power generated from the variety of energy harvesting sources. The digital management ensures that a secondary rechargeable battery is not overcharged by this extracted power, with voltage boosted, nor depleted beyond safe limits by a system load.
An integrated multiplexer gate driver autonomously switches the system load to a primary non- rechargeable battery if the secondary battery voltage falls below a user-defined threshold, allowing designers to optimize the system for different applications.

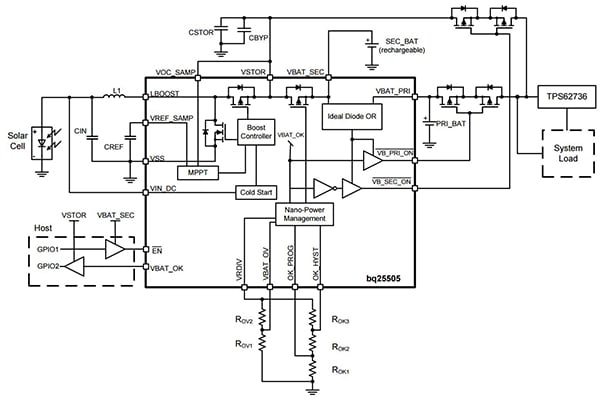
Figure 1: The bq25505 from Texas Instruments showing the pins for the digital power management.
The design starts with a DC-DC boost charger that requires only microwatts of power to begin operating. The main boost charger is powered from the boost output, VSTOR, as shown in Figure 1. Once the VSTOR voltage is above the VSTOR_CHGEN generator value, typically 1.8 V, the boost charger can effectively extract power from low voltage output harvesters such as TEGs or single- or dual-cell solar panels that produce voltages down to 100 mV. When the boost output is less than 100 mV, the cold start circuit needs to have at least 330 mV to charge VSTOR up to 1.8 V.
MPPT management
The bq25505 implements a programmable MPPT sampling network to optimize the transfer of power into the device from a solar cell. As the light falling on the cell varies, so the output varies in a complex, non-linear system.
A simple MPPT algorithm tracks this output voltage in a linear way so that the conversion into energy stored can be optimized. For example, for solar cells that operate at a maximum power point (MPP) of 80% of their open circuit voltage, the resistor divider can be set to 80% of the VIN_DC voltage and the network will control the VIN_DC to operate near that sampled reference voltage.
To achieve this, the VIN_DC open circuit voltage is programmed using external resistors to provide the sampling rate, and that sample voltage is held with an external capacitor connected to the VREF_SAMP pin.
The boost converter indirectly modulates the input impedance of the main boost charger by regulating the charger's input voltage, as sensed by the VIN_DC pin, to the sampled reference voltage stored on the VREF_SAMP pin. The MPPT circuit obtains a new reference voltage every 16 seconds by periodically disabling the charger for 256 ms and sampling a fraction of the harvester's open-circuit voltage (VOC).
For solar harvesters, the maximum power point is typically 70%-80% of VOC and for thermoelectric harvesters the MPPT is typically 50%. Tying VOC_SAMP to VSTOR internally sets the MPPT regulation point to 80% of VOC. Tying VOC_SAMP to GND internally sets the MPPT regulation point to 50% of VOC. If input source does not have either 80% or 50% of VOC as its MPP point, the exact ratio for MPPT can be optimized to meet the needs of the input source being used by connecting external resistors ROC1 and R between VIN_DC and GND with mid-point at VOC_SAMP.
External control
An alternative is to use an external microcontroller that implements a more complex MPPT algorithm to generate an external reference voltage that can be applied directly to the VREF_SAMP pin.
These alternative MPPT algorithms include techniques such as Perturb and Observe or incremental conductance and can be implemented in an ultra-low-power microcontroller such as the MSP430 from Texas Instruments for more digital control.

Figure 2: The ultra-low-power MSP430 controller from Texas Instruments can be used to implement more complex MPPT algorithms for managing energy harvesting from solar cells.
In the Perturb and Observe algorithm, also known as hill climbing, the controller adjusts the voltage from the cell by a small amount and measures the power. If the power increases, further adjustments in that direction are tried until power no longer increases.
With incremental conductance, the controller measures incremental changes in the current (dI/dV) from the cell to predict the effect of a voltage change. This needs more computation in the controller but can track the voltage faster than Perturb and Observe to provide higher efficiency.
A third MPPT technique is current sweep, which sweeps the cell current to determine the I-V characteristic. This can be regularly updated and the optimum power curve calculated.
However, there is a significant tradeoff in adding another microcontroller. The 16-bit RISC-based MSP430 controller uses around 9 mW at 16 MHz for the calculations, and has its own digital power management requirements. While it can energize from sleep mode quickly, this may not be a benefit as the supply from the energy harvesting source has to have time to settle down. This means the startup of the controller has to be scheduled to start after the energy harvesting power manager, adding more complexity and power consumption compared to using the simpler linear tracking MPPT algorithm already available in the bq25505.
The overall tradeoff depends on the amount of power required for the application and the size of the solar cell and the other functions being handled by the sub-system. There may well be a system microcontroller handling other functions that can also be used to run the MPPT algorithm.
Digital power management also needs to handle the characteristics of a wide range of storage elements; ensuring under and overvoltage conditions are avoided.
To prevent damage to the storage element, both maximum and minimum voltages are monitored against the internally programmed undervoltage (VBAT_UV) and user programmable overvoltage (VBAT_OV) levels. The management sub-system also toggles the battery good flag to signal an external microcontroller when the voltage on the battery or capacitor has dropped below a pre-set critical level. This should then trigger the shedding of load currents to prevent the system from entering an undervoltage condition.
The overvoltage and battery good (VBAT_OK) thresholds are programmed independently so that different power management options can be taken within the bq25505 and by the external controller such as the MSP430. This highlights the balance of power management within the energy harvesting sub-system and in an external controller.
Autonomous multiplexing
In addition to the boost charging front end, the bq25505 provides the system with an autonomous power multiplexer gate drive. This allows two storage elements to be multiplexed autonomously in order to provide a single power rail to the system load. This multiplexer uses the VBAT_OK threshold which is programmable by the user via a resistor. This allows the user to set the level when the system is powered by the energy harvester storage element, for example, a rechargeable battery or a supercapacitor for temporary power support or a primary non-rechargeable battery such as two AA batteries.
This type of hybrid system architecture allows for the run-time of a typical battery powered system to be extended based on the amount of energy available from the harvester. If there is not sufficient energy to run the system, the primary battery is autonomously switched to the main system rail within 8 µs in order to provide uninterrupted operation.
Nanopower management
The efficiency of the bq25505 is achieved through a proprietary Nano-Power management block and algorithm. This samples and holds the VSTOR voltage to reduce the average quiescent current so that the internal circuitry is only active for a short period of time and then off for the remaining period of time at the lowest feasible duty cycle. This is demonstrated in Figure 3 where the VRDIV node from Figure 1 is monitored.

Figure 3: Monitoring the VRDIV node that is a key part of the nanopower management of the bq25505
Here the VRDIV node provides a connection to the VSTOR voltage on the first pulse and then generates the reference levels for the VBAT_OV and VBAT_OK resistor dividers for a short period of time. Every 64 ms the divided down values at each pin are compared against VBIAS as part of the hysteresis control and, as this biases a resistor string, the current through these resistors is only active when the management circuitry makes the connection. This reduces the overall quiescent current in the resistors and helps to minimize the overall power consumption.
Conclusion
Implementing an energy harvesting charging sub-system requires close attention to the power budgets. Using a digital power management technique such as MPPT to optimize the energy captured from a source such as a solar cell or thermal generator can be achieved with simple algorithms already implemented in the power controller or through more complex algorithms running on an external ultra-low-power microcontroller. A charger such as the bq25505 can also provide digital power management for under-, over- and failover protection that is essential in protecting the energy storage devices, whether a rechargeable battery or supercapacitor.
免责声明:各个作者和/或论坛参与者在本网站发表的观点、看法和意见不代表 DigiKey 的观点、看法和意见,也不代表 DigiKey 官方政策。

